Чтобы запросить цену ниже, укажите номер телефона и e-mail.
All other data you can tell the manager.
Производитель
Количество считывателей
Количество зон прохода
Встроенный контроллер
Встроенный картоприемник
Ширина зоны прохода
Стандарт интерфейса связи
Место установки
Тип турникета
Автоматические планки
PERCo-TBC01.1A тумбовый турникет-трипод с автоматическими преграждающими планками Антипаника. Турникет оснащен двумя встроенными считывателями с поддержкой интерфейса связи Wiegand и картоприемником для бесконтактных карт доступа форматов EMM и HID.
Управление турникетом осуществляется автономно от дистанционного пульта или автоматически от контроллера по сети, в режиме, выставленном используемой СКУД. В стойку турникета TBC01.1A встроен замок механической разблокировки для открытия с помощью ключа и обеспечения свободного поворота преграждающих планок. При установке нескольких турникетов в ряд, формируюется зона прохода, что позволяет не монтировать дополнительных ограждений.
Турникет PERCo поддерживает подключение дополнительных устройств радиоуправления и источника питания. Корпус выполнен из нержавеющей стали с классом защиты IP41.
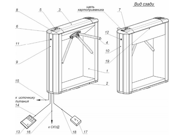
Конструкция турникета TBC 01.1 A:

- Каркас;
- Основание;
- Крышка (позиции 1-3 образуют стойку турникета);
- Планка преграждающая;
- Блок индикации;
- Крышка торцовая со считывателем;
- Крышка торцовая со считывателем;
- Заглушка крышки;
- Заглушка стойки;
- Контейнер картоприемника;
- Замок заглушки;
- Замок контейнера;
- ПДУ;
- Кабель ПДУ;
- Кабель питания;
- Кабель подключения к СКУД;
- Устройство Fire Alarm;
- Кабель устройства Fire Alarm;
- Установочный винт, фиксирующий крышку.
Купить PERCo-TBC01.1A в интернет-магазине СЕК-ГРУПП в Москве: Черницынский проезд, д.3, стр.1 (метро Щелковская). Доставка по России.

Напряжение питания
Мощность
Ток потребления
Количество направлений прохода
Пропускная способность в режиме однократного прохода
Пропускная способность в режиме свободного прохода
Габаритные размеры (длина Х ширина Х высота)
Ширина зоны прохода
Рабочий температурный диапазон
Степень защиты оболочки IP
Планки антипаника
Интерфейс связи
Количество считывателей
Количество картоприемников
Дальность считывания
Дальность считывания
Емкость картоприемника
Средняя наработка на отказ
До ТК (СДЭК, ПЭК, Деловые Линии) - 0 Р
Остальные транспортные компании - 1000 Р
Заказы от 60 000 Р (по ценам сайта) - 0 Р
В пределах МКАД заказы стоимость > 5 000 руб. и < 2 кг - 750 руб., > 2 кг составляет 1000 руб.
Негабарит МКАД - 1300 Р (более 5 метров - 2000 Р)
За МКАД - 1000 Р + 90Р/км
Негабарит за МКАД - 1300Р + 110Р/км (более 5 метров - 2000 Р + 110Р/км)
г. Москва, Черницынский пр-д, д. 3 стр. 1. метро Щелковская
г. Уфа, ул. Трамвайная, д. 2 оф. 1-02
Мы правильно определили ваш город?
Оплата осуществляется путем банковского перевода денежных средств с расчетного счета покупателя на наш расчетный счет.
Счет выставляется по запросу в печатном или электронном виде. Счет действителен в течении 3-х банковских дней за исключением оборудования производства компании PERCo.
Оплата наличными производится в офисах компании при получении товара со склада по адресам:
- г. Москва, Черницынский проезд, д.3, стр.3
- г. Уфа, Трамвайная улица, д.2, офис 1-02
Стоимость заказа передаётся водителю компании при получении товара.




















